美国传力Transcell FAK称重传感器量程
	3kg, 6kg, 10kg, 12kg, 15kg, 20kg, 25kg, 30kg, 35kg, 40kg, 45kg, 60kg, 120kg, 150kg, 200kg
	
	
美国传力Transcell FAK称重传感器产品特性
- 1. 单点式称重传感器
 - 2. 铝材质
 - 3. 高精确度
 - 4. 稳定性高
 - 5. 易于安装
 - 6. 适用于包装称重系统,零件计数和小料斗秤,台秤、配料秤等。
 
	美国传力Transcell FAK称重传感器应用
美国传力Transcell FAK称重传感器产品参数
- · 额定输出:2.0mV/V ±10%
 - · 零点平衡:±3%
 - · 蠕变(30min):±0.03%
 - · 非线性误差:±0.03%
 - · 滞后误差:±0.03%
 - · 重复性:±0.03%
 - · 输出温度影响:≤0.002%
 - · 零点温度影响:≤0.002%
 - · 输入阻抗:(410±20)Ω
 - · 输出阻抗:(350±5)Ω
 - · 绝缘阻抗:≥5000 M ohm (50V DC)
 - · 推荐电源电压:10V DC/AC
 - · 最大电源电压:15V DC/AC
 - · 可用温度范围:-10℃ to + 70℃
 - · 温度补偿范围:-10℃ to + 40℃
 - · 安全负载:150%
 - · 材质:铝
 - · 电缆颜色代码:红色:+电源线;黑色:-电源线;白色:-信号线;绿色:+信号线
 

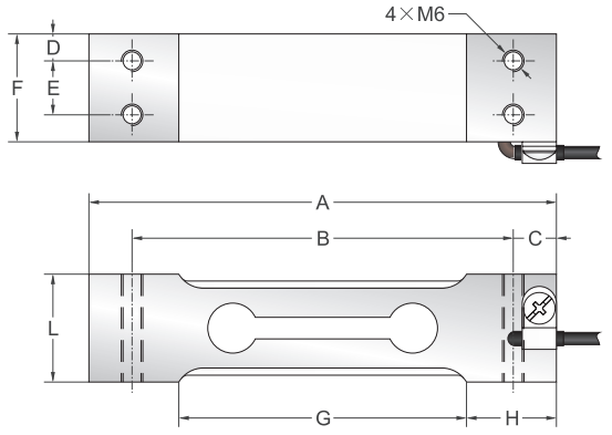
美国传力Transcell FAK称重传感器产品尺寸

| 量程 | A | B | C | D | E | F | G | H | L | |
| 3kg~45kg | mm | 130 | 106 | 12 | 7.5 | 15 | 30 | 80 | 25 | 22 | 
| 60kg~200kg | mm | 130 | 106 | 12 | 7.5 | 15 | 30 | 80 | 25 | 30 | 
